(JO n° 137 du 15 juin 2006)
NOR : SOCT0611077A
Texte modifié par :
- Arrêté du 15 mai 2024 (JO n° 130 du 6 juin 2024)
- Arrêté du 15 mai 2014 (JO n° 233 du 8 octobre 2014)
Vus
Le ministre de l'emploi, de la cohésion sociale et du logement, le ministre de la santé et des solidarités, le ministre de l'agriculture et de la pêche et le ministre délégué à l'industrie,
Vu le code du travail, notamment les articles R. 231-81 à R. 231-83 ;
Vu le code de la santé publique, notamment l'article R. 1333-43 ;
Vu l'avis du Conseil supérieur de la prévention des risques professionnels en date du 6 octobre 2005 ;
Vu l'avis de la Commission nationale d'hygiène et de sécurité du travail en agriculture en date du 7 octobre 2005 ;
Vu l'avis de l'Institut de radioprotection et de sûreté nucléaire en date du 14 février 2006,
Arrêtent :
Article 1er de l’arrêté du 15 mai 2006
(Arrêté du 15 mai 2014, articles 2 et 3)
Afin de s'assurer du respect des limites de dose fixées « aux articles R. 4451-12 et R. 4451-13 » du code du travail, l' « employeur » détenteur, à quelque titre que ce soit, d'une source de rayonnements ionisants, met en place les dispositions relatives aux zones surveillées et contrôlées prévues « aux articles R. 4451-18 à R. 4451-28 » du même code.
Au sens du présent arrêté est considéré comme zone tout lieu ou espace de travail autour d'une source de rayonnements ionisants, dûment identifié, faisant l'objet de mesures de prévention à des fins de protection des travailleurs contre les dangers des rayonnements ionisants émis par cette source.
Titre I : Délimitation et signalisation des zones contrôlées et surveillées et des zones spécialement réglementées ou interdites
Article 2 de l’arrêté du 15 mai 2006
(Arrêté du 15 mai 2014, articles 2 et 3)
II. Au regard du risque déterminé au I du présent article, l' « employeur » évalue le niveau d'exposition externe et, le cas échéant interne, au poste de travail, selon les modalités définies « en application des dispositions prévues à l'article R. 4451-16 » du code du travail en ne considérant pas le port, éventuel, d'équipements de protection individuelle.
III. L' « employeur » consigne, dans un document interne qu'il tient à disposition des agents de contrôle compétents et du comité d'hygiène, de sécurité et des conditions de travail ou, à défaut, des délégués du personnel, la démarche qui lui a permis d'établir la délimitation de ces zones.
Section I : Dispositions générales relatives aux installations
Article 3 de l’arrêté du 15 mai 2006
(Arrêté du 15 mai 2024, article 11 I)
Les dispositions de la présente section visent les lieux, bâtiments, locaux ou espaces de travail destinés à recevoir normalement au moins une source ou un appareil émetteur de rayonnements ionisants « à l'exclusion des situations d'exposition au radon provenant du sol, définies au 4° de l'article R. 4451-1 du code du travail ».
Article 4 de l’arrêté du 15 mai 2006
(Arrêté du 15 mai 2014, articles 2 et 3)
I. Sous réserve des dispositions prévues aux II et III ci-dessous, les limites des zones mentionnées à l'article 1er coïncident avec les parois des locaux ou les clôtures des aires dûment délimitées recevant les sources de rayonnements ionisants.
II. A l'exclusion des zones interdites mentionnées « aux articles R. 4451-18 à R. 4451-22 » du code du travail, qui sont toujours délimitées par les parois du volume de travail ou du local concerné, lorsque les caractéristiques de la source de rayonnements ionisants, le résultat des évaluations prévues aux articles R. 4451-18 à R. 4451-22 » du code du travail peut être limitée à une partie du local ou à un espace de travail défini sous réserve que la zone ainsi concernée fasse l'objet :
- D'une délimitation continue, visible et permanente, permettant de distinguer les différentes zones. Lorsqu'il s'agit de zones spécialement réglementées prévues « aux articles R. 4451-18 à R. 4451-22 » du code du travail, les limites sont matérialisées par des moyens adaptés afin de prévenir tout franchissement fortuit ;
- D'une signalisation complémentaire mentionnant leur existence, apposée de manière visible sur chacun des accès au local.
III. Les zones surveillées ou contrôlées définies « aux articles R. 4451-18 à R. 4451-22 » du code du travail peuvent s'étendre à des surfaces attenantes aux locaux ou aires recevant normalement des sources de rayonnements ionisants, à condition que tous ces espaces soient sous la responsabilité de l' « employeur » et dûment délimités. Si tel n'est pas le cas, l' « employeur » prend les mesures nécessaires pour délimiter strictement la zone aux parois des locaux et aux clôtures des aires concernées.
Article 5 de l’arrêté du 15 mai 2006
(Arrêté du 15 mai 2014, articles 2 et 3)
I. Sur la base du résultat des évaluations prévues à l'article 2, l' « employeur » délimite autour de la source, dans les conditions définies à l'article 4, une zone surveillée ou contrôlée. Il s'assure, par des mesures périodiques dans ces zones, du respect des valeurs de dose mentionnées « à l'article R. 4451-18 » du code du travail.
L' « employeur » vérifie, dans les bâtiments, locaux ou aires attenants aux zones surveillées ou contrôlées que la dose efficace susceptible d'être reçue par un travailleur reste inférieure à 0,080 mSv par mois. Lorsqu'un risque de contamination existe dans les zones surveillées ou contrôlées, il vérifie également, en tant que de besoin, l'état de propreté radiologique des zones attenantes à celles-ci.
II. En dehors des zones spécialement réglementées ou interdites définies à l'article 7, la zone, définie au I du présent article, délimitée autour de la source est désignée comme suit :
- Pour l'exposition externe et interne de l'organisme entier, la zone est désignée zone surveillée tant que la dose efficace susceptible d'être reçue en une heure reste inférieure à 0,0075 mSv ; au-delà et jusqu'à 0,025 mSv, la zone est désignée zone contrôlée verte ;
- Pour l'exposition externe des extrémités (mains, avant-bras, pieds, chevilles), la zone est désignée zone surveillée tant que la dose équivalente susceptible d'être reçue en une heure reste inférieure 0,2 mSv ; au-delà et jusqu'à 0,65 mSv, la zone est désignée zone contrôlée verte.
III. A l'intérieur des zones surveillées et contrôlées ainsi que des zones attenantes à celles-ci, l' « employeur » définit des points de mesures ou de prélèvements représentatifs de l'exposition des travailleurs qui constituent des références pour les contrôles d'ambiance définis « à l'article R. 4451-34 » du code du travail. Il les consigne, ainsi que la démarche qui lui a permis de les établir, dans le document interne mentionné au III de l'article 2.
Article 6 de l’arrêté du 15 mai 2006
(Arrêté du 15 mai 2014, articles 2 et 3)
En cas de dépassement de l'une des valeurs mentionnées aux I et II de aux articles R. 4451-12 et R. 4451-13 » du code du travail continuent d'être respectées pour tous les travailleurs appelés à intervenir dans les zones concernées.
Il consigne ces informations dans le document interne mentionné au III de l'article 2 et met en oeuvre les moyens correctifs appropriés si la situation n'est pas revenue dans son état initial.
Article 7 de l’arrêté du 15 mai 2006
(Arrêté du 15 mai 2014, article 2)
A l'intérieur de la zone contrôlée, l' « employeur » délimite, s'il y a lieu, les zones spécialement réglementées ou interdites suivantes :
- Les zones spécialement réglementées, désignées zones contrôlées jaunes, où la dose efficace susceptible d'être reçue en une heure reste inférieure à 2 mSv et où la dose équivalente (mains, avant-bras, pieds, chevilles) susceptible d'être reçue en une heure reste inférieure à 50 mSv.
Pour l'exposition externe du corps entier, le débit d'équivalent de dose ne doit pas dépasser 2 mSv/h ; - Les zones spécialement réglementées, désignées zones contrôlées orange, où la dose efficace susceptible d'être reçue en une heure reste inférieure à 100 mSv et où la dose équivalente (mains, avant-bras, pieds, chevilles) susceptible d'être reçue en une heure reste inférieure à 2,5 Sv.
Pour l'exposition externe du corps entier, le débit d'équivalent de dose ne doit pas dépasser 100 mSv/h ; - Les zones interdites, désignées zones rouges, où les doses efficaces ou équivalentes susceptibles d'être reçues en une heure ou le débit d'équivalent de dose sont égaux ou supérieurs à l'une des valeurs maximales définies pour les zones orange.
Article 8 de l’arrêté du 15 mai 2006
I. Les zones mentionnées aux articles 5 et 7 sont signalées de manière visible par des panneaux installés à chacun des accès de la zone. Les panneaux, appropriés à la désignation de la zone, sont conformes aux dispositions fixées à l'annexe I du présent arrêté.
Les panneaux doivent être enlevés lorsque la situation les justifiant disparaît, notamment après suppression, temporaire ou définitive, de la délimitation dans les conditions définies à l'article 11.
II. A l'intérieur des zones surveillées et contrôlées, les sources individualisées de rayonnements ionisants font l'objet d'une signalisation spécifique visible et permanente.
III. Dans les zones rouges ou orange, lorsque les conditions techniques ne permettent pas la signalisation individuelle des sources ou l'affichage de leur localisation, de leur nature et de leurs caractéristiques de manière visible à chaque accès à la zone considérée, un document précisant les conditions radiologiques d'intervention est délivré au travailleur devant y pénétrer.
Article 9 de l’arrêté du 15 mai 2006
(Arrêté du 15 mai 2014, article 2)
I. Lorsque l'émission de rayonnements ionisants n'est pas continue, et que les conditions techniques le permettent, la délimitation de la zone contrôlée, mentionnée à l'article 5, peut être intermittente. Dans ce cas, l' « employeur » établit des règles de mise en œuvre de la signalisation prévue à l'article 8, assurée par un dispositif lumineux et, s'il y a lieu, sonore, interdisant tout accès fortuit d'un travailleur à la zone considérée.
La zone considérée ainsi délimitée et signalée est, a minima, lorsque l'émission de rayonnements ionisants ne peut être exclue, une zone surveillée. La signalisation de celle-ci, prévue à l'article 8, peut être assurée par un dispositif lumineux.
Lorsque l'appareil émettant des rayonnements ionisants est verrouillé sur une position interdisant toute émission de ceux-ci et lorsque toute irradiation parasite est exclue, la délimitation de la zone considérée peut être suspendue temporairement.
II. Une information complémentaire, mentionnant le caractère intermittent de la zone, est affichée de manière visible à chaque accès de la zone.
Article 10 de l’arrêté du 15 mai 2006
(Arrêté du 15 mai 2014, articles 2 et 3)
I. Lorsque qu'une opération, notamment de maintenance, est susceptible de modifier l'intégrité des protections autour de la source ou du dispositif émetteur de rayonnements ionisants, l' « employeur » procède à une nouvelle évaluation, dans les conditions prévues à l'article 2, en vue de prendre les mesures appropriées pour adapter la délimitation de la zone. La zone nouvellement délimitée est, a minima, durant la période d'intervention, une zone surveillée.
II. Dans le cas où l'opération est effectuée par une entreprise extérieure, les chefs de l'entreprise utilisatrice et de l'entreprise extérieure échangent, dans les conditions prévues à l'article R. 4451-8 du code du travail, les informations en matière de radioprotection.
Article 11 de l’arrêté du 15 mai 2006
(Arrêté du 15 mai 2014, articles 2 et 3)
La suppression, temporaire ou définitive, de la délimitation d'une zone surveillée ou contrôlée peut être effectuée dès lors que tout risque d'exposition externe et interne est écarté. Cette décision, prise par l' « employeur », ne peut intervenir qu'après la réalisation des contrôles techniques d'ambiance mentionnés « à l'article R. 4451-34 » du code du travail par la personne compétente en radioprotection ou par un organisme agréé mentionné à l'article R. 1333-43 du code de la santé publique.
Section II : Dispositions relatives aux appareils mobiles ou portables émetteurs de rayonnements ionisants
Article 12 de l’arrêté du 15 mai 2006
Les dispositions de la présente section concernent l'utilisation d'appareils mobiles ou portables de radiologie industrielle, médicale, dentaire ou vétérinaire et de tout autre équipement mobile ou portable contenant des sources radioactives ou émettant des rayons X dénommés, dans la présente section, appareil(s).
Ne sont pas concernés par cette section les appareils ou équipements, mobiles ou portables, utilisés à poste fixe ou couramment dans un même local.
Article 13 de l’arrêté du 15 mai 2006
(Arrêté du 15 mai 2014, articles 2 et 3)
I. L' « employeur » ou le chef de l'entreprise extérieure, dénommé, dans la présente section, responsable de l'appareil, établit les consignes de délimitation d'une zone contrôlée, dite zone d'opération, dont l'accès est limité aux travailleurs devant nécessairement être présents. La délimitation de cette zone prend en compte, notamment, les caractéristiques de l'appareil émetteur de rayonnements ionisants, les conditions de sa mise en œuvre, l'environnement dans lequel il doit être utilisé et, le cas échéant, les dispositifs visant à réduire l'émission de rayonnements ionisants.
II. Pour établir les consignes de délimitation de la zone d'opération, le responsable de l'appareil définit, le cas échéant, en concertation avec le chef de l'entreprise utilisatrice dans les conditions prévues l'article R. 4451-8 du code du travail, les dispositions spécifiques de prévention des risques radiologiques pour chaque configuration d'utilisation de l'appareil. Il prend notamment les dispositions nécessaires pour que soit délimitée la zone d'opération, telle que, à la périphérie de celle-ci, le débit d'équivalent de dose moyen, évalué sur la durée de l'opération, reste inférieur à 0,0025 mSv/h.
Ces consignes ainsi que la démarche qui a permis de les établir sont rendues disponibles sur le lieu de l'opération et enregistrées, par le responsable de l'appareil, dans le document interne mentionné au III de l'article 2.
III. Lorsque l'appareil est mis en œuvre à l'intérieur d'une zone surveillée ou contrôlée, la délimitation de la zone d'opération prend en compte les débits de doses inhérents à l'appareil ainsi que ceux déjà existant dans ces zones. La délimitation de la zone d'opération est alors établie conformément aux valeurs fixées aux articles 5 et 7.
Article 14 de l’arrêté du 15 mai 2006
A titre exceptionnel, lorsque les conditions techniques de l'opération rendent impossible la mise en place des dispositifs de protection radiologique prévus au I de l'article 13 ou que ces dispositifs n'apportent pas une atténuation suffisante, le débit d'équivalent de dose moyen, évalué sur la durée de l'opération, peut être supérieur à la valeur fixée au II de l'article 13 sans jamais dépasser 0,025 mSv/h.
Dans ce cas, le responsable de l'appareil établit préalablement à l'opération, le cas échéant en concertation avec le chef de l'entreprise utilisatrice, un protocole spécifique qui :
- expose le programme opérationnel journalier ;
- décrit l'opération concernée ;
- précise les impossibilités rencontrées ;
- détaille et justifie les dispositions compensatoires retenues pour réduire les expositions aussi bas que raisonnablement possible ;
- mentionne les doses susceptibles d'être reçues par les travailleurs présents dans la zone d'opération et ceux qui pourraient être présents en périphérie de celle-ci.
Le responsable de l'appareil s'assure que les travailleurs en charge de l'opération concernée ont été informés des dispositions particulières de prévention radiologique associées à cette opération et qu'un exemplaire du protocole leur a été remis.
Ce protocole, ainsi que la démarche qui a permis de l'établir, est rendu disponible sur le lieu de l'opération et consigné, par le responsable de l'appareil, dans le document interne mentionné au III de l'article 2.
Article 15 de l’arrêté du 15 mai 2006
Le responsable de l'appareil met en œuvre, le cas échéant en concertation avec le chef de l'entreprise utilisatrice, les mesures nécessaires de protection contre les risques des rayonnements ionisants à l'égard des travailleurs de l'établissement dans lequel il pratique son activité.
Ces mesures sont consignées, par le responsable de l'appareil, dans le document interne mentionné au III de l'article 2.
Article 16 de l’arrêté du 15 mai 2006
(Arrêté du 15 mai 2014, article 3)
I. Le responsable de l'appareil délimite la zone d'opération de manière visible et continue tant que l'appareil est en place. Il la signale par des panneaux installés de manière visible. Les panneaux utilisés, conformes aux dispositions fixées à l'annexe du présent arrêté, correspondent à ceux requis pour la signalisation d'une zone contrôlée. Cette signalisation mentionne notamment la nature du risque et l'interdiction d'accès à toute personne non autorisée. Pour les opérations de radiographie industrielle, un dispositif lumineux est activé durant la période d'émission des rayonnements ionisants ; il est complété, en tant que de besoin, par un dispositif sonore.
Cette signalisation doit être enlevée en fin d'opération, lorsque l'appareil est verrouillé sur une position interdisant toute émission de rayonnements ionisants et lorsque toute irradiation parasite est exclue.
II. Lorsque la délimitation matérielle de la zone n'est pas possible, notamment lorsque l'appareil est utilisé en mouvement, le responsable de l'appareil, établit, le cas échéant en concertation avec l'entreprise utilisatrice et les autres entreprises présentes dans les conditions prévues l'article R. 4451-8 du code du travail, un protocole spécifique à l'opération considérée. Ce protocole précise notamment les dispositions organisationnelles nécessaires au contrôle des accès à cette zone d'opération.
Le responsable de l'appareil s'assure que les travailleurs en charge de l'opération concernée ont été informés des dispositions particulières de délimitation et de prévention radiologique associées à cette opération et qu'un exemplaire du protocole leur a été remis.
Ce protocole, ainsi que la démarche qui a permis de l'établir, est consigné, par le responsable de l'appareil dans le document interne mentionné au III de l'article 2.
Section III : Dispositions particulières relatives à l'acheminement de matières radioactives
Article 17 de l’arrêté du 15 mai 2006
(Arrêté du 15 mai 2014, article 2)
I. Pour les opérations d'acheminement de matières radioactives relatives à un transport devant emprunter la voie publique, l' « employeur », expéditeur ou destinataire, responsable de l'opération, établit, conformément à la réglementation de transport de matières radioactives, un programme de protection radiologique afin de garantir la protection des travailleurs contre les rayonnements ionisants.
II. Pour les opérations d'acheminement de matières radioactives relatives à un transport n'empruntant pas la voie publique, l' « employeur » définit, en s'appuyant le cas échéant sur la réglementation de transport de matières radioactives, les règles de protection des travailleurs contre les dangers des rayonnements ionisants adaptées aux opérations de transport au sein de l'établissement.
III. En toute situation, les opérations en amont et en aval de l'opération d'acheminement sont soumises aux dispositions du présent arrêté.
Titre II : Conditions d’accès en zones
Article 18 de l’arrêté du 15 mai 2006
(Arrêté du 15 mai 2014, article 2)
L' « employeur » définit, après avis de la personne compétente en radioprotection, les conditions d'accès et de sortie des zones surveillées, contrôlées, spécialement réglementées et interdites, pour les personnes et les matériels.
Article 19 de l’arrêté du 15 mai 2006
(Arrêté du 15 mai 2014, article 2)
L'accès à une zone rouge doit être rendu impossible par la mise en place de dispositifs matériellement infranchissables. Ces dispositifs ne peuvent être retirés que lorsque l'autorisation d'accès prévue à l'article 20 a été obtenue auprès de l' « employeur » et uniquement dans les conditions et durant le temps définis par celle-ci.
Article 20 de l’arrêté du 15 mai 2006
(Arrêté du 15 mai 2014, articles 2 et 3)
L' « employeur » ne peut autoriser l'accès à une zone rouge qu'à titre exceptionnel, après avoir défini, notamment, les dispositions organisationnelles et techniques mises en œuvre pour respecter les valeurs limites de dose fixées « aux articles R. 4451-12 et R. 4451-13 » du code du travail et recueilli l'avis de la personne compétente en radioprotection. Il consigne ces dispositions dans le document interne mentionné au III de l'article 2.
L'accès aux zones orange et rouges fait l'objet d'un enregistrement nominatif sur un registre ou dans un système informatisé, régulièrement sauvegardé, tenu spécialement à cet effet. Ce registre contient notamment les autorisations d'accès en zone rouge signées par l' « employeur ».
Titre III : Règles d’hygiène et de sécurité dans les zones
Section I : Dispositions générales
Article 21 de l’arrêté du 15 mai 2006
(Arrêté du 15 mai 2014, article 2)
L' « employeur » définit les mesures d'urgence à appliquer en cas d'incident ou accident affectant les sources de rayonnements ionisants, et en particulier d'incendie à proximité des sources, de perte ou de vol d'une source, ainsi qu'en cas de dispersion de substances radioactives, pour quelque raison que ce soit.
Ces mesures sont portées à la connaissance des travailleurs concernés, des personnes chargées d'intervenir dans de telles circonstances et du comité d'hygiène, de sécurité et des conditions de travail ou, à défaut, des délégués du personnel concernés.
Article 22 de l’arrêté du 15 mai 2006
I. Lorsqu'elles sont inutilisées, les sources de rayonnements doivent être entreposées dans des conditions permettant en toutes circonstances :
- d'assurer la radioprotection des travailleurs situés à proximité, notamment par le rangement des sources dans des conteneurs adaptés ou l'interposition d'écrans appropriés atténuant, autant que raisonnablement possible, les rayonnements ionisants émis ou par le choix d'emplacements éloignés des postes habituels de travail ;
- de prévenir leur utilisation par des personnes non autorisées, voire leur vol, notamment en les plaçant dans des enceintes ou des locaux fermés à clé ;
- de prévenir leur endommagement, notamment par incendie ;
- pour les sources radioactives scellées, de préserver leur intégrité ou, pour les sources radioactives non scellées, de prévenir une dispersion incontrôlée des radionucléides, notamment par la mise en place de dispositifs de rétention, de ventilation ou de filtration.
II. Dans le cas des installations mobiles, des dispositions complémentaires spécifiques doivent être mises en place par leur détenteur afin d'en assurer la surveillance, en particulier lors de leur mise en œuvre.
III. La présence de sources radioactives dans une enceinte d'entreposage, un conteneur adapté, un conditionnement, un dispositif émetteur de rayonnements ionisants ou derrière des écrans de protection appropriés doit être signalée.
Article 23 de l’arrêté du 15 mai 2006
(Arrêté du 15 mai 2014, articles 1er, 2 et 3)
I. Lorsque des équipements de protection individuelle mentionnés à l'article R. 4451-31 du code du travail sont nécessaires en complément des équipements de protection collective, l' « employeur » veille à ce que :
- les zones requérant leur port soient clairement identifiées ;
- ces équipements soient effectivement portés et correctement utilisés dans ces zones puis retirés et rangés une fois le travailleur sorti de la zone ;
- ces équipements soient vérifiés et, le cas échéant, nettoyés et réparés par ses soins avant toute nouvelle utilisation ou remplacés.
II. Lorsqu'il y a un risque de contamination et que les conditions de travail nécessitent le port de tenues de travail, les vestiaires affectés aux travailleurs concernés doivent comporter deux aires distinctes : l'une est réservée aux vêtements de ville, l'autre aux vêtements de travail. Des douches et des lavabos doivent être mis à disposition des travailleurs.
Il est procédé périodiquement à la vérification de l'absence de contamination de ces locaux. Les modalités et la fréquence de cette vérification sont définies par l' « employeur », dans le respect des dispositions « de l'article R. 4451-34 » du code du travail.
III. Lorsqu'il y a un risque de contamination et que les tenues ou équipements de protection individuelle sont à usage unique, ceux-ci sont considérés, après usage, comme des déchets radioactifs.
« IV. L'employeur, détenteur à quelque titre que ce soit, d'une source de rayonnements ionisants, dont les salariés interviennent au sein d'une installation nucléaire de base mentionnée à l'article L. 593-2 du code de l'environnement ou d'une installation individuelle comprise soit dans le périmètre du site sur lequel est implantée l'installation nucléaire de base, soit dans celui d'une installation nucléaire de base secrète mentionnée à l'article R.* 1333-40 du code de la défense, peut déroger aux mesures prévues au II du présent article sous réserve de mettre en place une organisation :
- de nature à réduire le risque de contamination des travailleurs, notamment en améliorant la propreté radiologique de l'installation ;
- limitant les contraintes physiques ou physiologiques pouvant résulter du port des équipements de protection individuelle, afin qu'ils ne soient eux-mêmes à l'origine de risques supplémentaires pour la santé des travailleurs, conformément à l'article R. 4323-91 ;
- de la circulation des travailleurs et des flux des équipements, des vêtements de travail et des matériels de nature à prévenir la dissémination de la contamination radioactive conformément aux principes de radioprotection tels que définis à l'article L. 1333-1 du code de la santé publique.
L'employeur :
- s'assure que cette organisation particulière soit maîtrisée et appliquée par les entreprises extérieures, conformément à l'article R. 4451-8 ;
- évalue l'efficacité des dispositions mises en place pour améliorer la propreté radiologique des locaux et leur bénéfice pour la santé et la sécurité des travailleurs. Il renouvelle régulièrement cette évaluation et assure la traçabilité de cette démarche ;
- informe du recours aux dispositions du présent alinéa l'inspecteur du travail et, selon le cas, l'Autorité de sûreté nucléaire ou le délégué à la sûreté nucléaire et à la radioprotection pour les activités et installations intéressant la défense mentionnés à l'article R.* 1411-7 du code de la défense. »
Section II : Dispositions particulières relatives aux risques de contamination radioactive
Article 24 de l’arrêté du 15 mai 2006
(Arrêté du 15 mai 2014, articles 2 et 3)
Si les contrôles effectués révèlent que la source radioactive initialement scellée n'est plus étanche, l' « employeur » prend les mesures pour isoler la source concernée, la placer dans un dispositif permettant de limiter au plus près de la source toute dispersion de substance radioactive et vérifier l'absence de contamination des postes de travail concernés. Il détermine, en outre, les conséquences de cette situation sur les travailleurs et met en œuvre les éventuelles actions correctives ou palliatives.
Dans l'attente de l'élimination de la source concernée, l' « employeur » en assure l'entreposage dans les conditions mentionnées à l'article 22.
Article 25 de l’arrêté du 15 mai 2006
(Arrêté du 15 mai 2014, article 2)
I. L' « employeur » met à disposition, en tant que de besoin, les moyens nécessaires pour qu'en toute circonstance des sources radioactives non scellées ne soient en contact direct avec les travailleurs.
II. Toutes les surfaces sur lesquelles sont manipulées ou entreposées des sources radioactives non scellées doivent être constituées de matériaux faciles à décontaminer.
Lorsque des sources radioactives non scellées sous forme liquide sont manipulées ou entreposées, des dispositifs de rétention adaptés aux quantités présentes doivent être mis en place.
Lorsque des sources radioactives non scellées sous forme gazeuse ou lorsque des sources d'autres natures peuvent conduire à des mises en suspension d'aérosols ou des relâchements gazeux significatifs, des ventilations et des filtrations adaptées sont mises en place au plus près des sources concernées.
III. L' « employeur » prend des dispositions pour interdire l'introduction à l'intérieur d'un lieu de travail où sont présentes des sources radioactives non scellées ou, plus généralement, un risque de contamination :
- De la nourriture, des boissons, de la gomme à mâcher et des ustensiles utilisés pour manger ou boire. Cette disposition ne concerne pas les produits destinés aux patients ;
- Des articles pour fumeurs, des cigarettes ou du tabac ;
- Des produits cosmétiques ou des objets servant à leur application ;
- Des mouchoirs. En contrepartie, des mouchoirs à usage unique doivent être fournis par l' « employeur ». Ces mouchoirs sont considérés après usage comme des déchets radioactifs ;
- Tout effet personnel non nécessaire à l'exercice de son activité.
Par dérogation aux dispositions prévues au a ci-dessus, lorsque les travailleurs sont soumis à des conditions particulières nécessitant qu'ils se désaltèrent fréquemment, l'inspecteur du travail peut, après avis de l'Institut de radioprotection et de sûreté nucléaire, autoriser l' « employeur » à installer des postes de distribution de boissons à l'intérieur d'une zone contrôlée.
Article 26 de l’arrêté du 15 mai 2006
(Arrêté du 15 mai 2014, article 2)
Lorsqu'il y a un risque de contamination, les zones contrôlées et surveillées sont équipées d'appareils de contrôle radiologique du personnel et des objets à la sortie de ces zones ; ces appareils, et notamment leur seuil de mesure, sont adaptés aux caractéristiques des radionucléides présents.
L' « employeur » affiche, aux points de contrôle des personnes et des objets, les procédures applicables pour l'utilisation des appareils et celles requises en cas de contamination d'une personne ou d'un objet. Des dispositifs de décontamination adaptés doivent être mis en place.
Article 27 de l’arrêté du 15 mai 2006
(Arrêté du 15 mai 2014, article 3)
Lorsque l'eau est utilisée comme écran de protection radiologique, des dispositions de sécurité doivent être prises contre les risques d'immersion profonde d'un travailleur susceptible de conduire au dépassement de l'une des limites de dose mentionnées « aux articles R. 4451-12 et R. 4451-13 » du code du travail.
Les travailleurs appelés à intervenir au-dessus du plan d'eau doivent, lorsqu'il n'existe pas de barrière permettant d'exclure tout risque de chute, être munis de brassière de sauvetage de type plastron et disposer de bouées ou de tout autre dispositif de sécurité évitant une immersion profonde par une remontée rapide en cas de chute dans l'eau.
Titre IV : Dispositions finales
Article 28 de l’arrêté du 15 mai 2006
Le présent arrêté entrera en vigueur six mois après la date de sa publication au Journal officiel de la République française.
Article 29 de l’arrêté du 15 mai 2006
L'arrêté du 7 juillet 1977 portant application de l'article 18 du décret n° 75-306 du 28 avril 1975 relatif à la protection des travailleurs contre les dangers des rayonnements ionisants dans les installations nucléaires de base pour la fixation des seuils et les modalités de signalisation des zones spécialement réglementées ou interdites à l'intérieur de chaque zone contrôlée est abrogé à compter de la date d'entrée en vigueur du présent arrêté.
Article 30 de l’arrêté du 15 mai 2006
Le directeur des relations du travail, le directeur général de la sûreté nucléaire et de la radioprotection, le directeur général de la forêt et des affaires rurales et le directeur général de l'énergie et des matières premières sont chargés, chacun en ce qui le concerne, de l'exécution du présent arrêté, qui sera publié ainsi que son annexe au Journal officiel de la République française.
Fait à Paris, le 15 mai 2006.
Le ministre de l'emploi, de la cohésion sociale et du logement,
Pour le ministre et par délégation :
Le directeur des relations du travail,
J.-D. Combrexelle
Le ministre de la santé et des solidarités,
Pour le ministre et par délégation :
Le directeur général de la sûreté nucléaire et de la radioprotection,
A.-C. Lacoste
Le ministre de l'agriculture et de la pêche,
Pour le ministre et par délégation :
Le directeur général de la forêt et des affaires rurales,
A. Moulinier
Le ministre délégué à l'industrie,
Pour le ministre et par délégation :
Le directeur général de l'énergie et des matières premières,
D. Maillard
Annexe : Prescriptions concernant les panneaux de signalisation des zones définies à l’article R 231-81 du code du travail
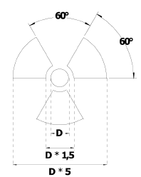
La forme des panneaux de signalisation prévus à l'article 8 du présent arrêté est définie par le schéma de base ci-après.

Trois secteurs également répartis, dont un orienté vers le bas.
Les couleurs des panneaux sont définies en fonction des zones qu'ils identifient :
- Gris-bleu pour la zone surveillée ;
- Vert pour la zone contrôlée ;
- Jaune et orange pour les zones spécialement réglementées ;
- Rouge pour la zone interdite.
Ces panneaux indiquent la nature du risque radiologique dans la zone considérée. Des inscriptions et autres signes peuvent être associés au schéma de base lorsqu'il convient d'indiquer le type de rayonnement, les limites de l'espace intéressé ou d'autres indications du même ordre, mais ils ne doivent en aucun cas affecter la clarté du schéma.
En cas de mauvaises conditions d'éclairage, des couleurs phosphorescentes, des matériaux réfléchissants ou un éclairage additionnel doivent être, selon le cas, utilisés.
Ils sont constitués d'un matériau résistant le mieux possible aux chocs, aux intempéries et aux agressions dues au milieu ambiant.
Les panneaux conformes à la norme NF M 60-101 ou à toute autre norme en vigueur dans un Etat membre de l'Union européenne et justifiant d'une équivalence avec la norme française sont réputés satisfaire aux prescriptions de la présente annexe.